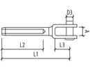
FORK TERMINAL

SKU: FT 7803-225

Price:
Sale price$12.45

Description

Grade 316 Stainless steel - BRIDCO Fork Terminal, used in balustrading and industrial applications. Stock available to suit wire diameter 2.5mm, 3mm, 4mm, 5mm, and 6mm.  Other sizes available on request  - see attached PDF for full range and specifications.

You may also like

Recently viewed